German Naval Radar

Updated 17 October 1999
 

    4. Armored Ships

Deutschland/Luetzow Class BB/CA

Both Admiral Graf Spee and Deutschland have been claimed to be the first German naval vessels to be fitted with radar. Trenckle says that Admiral Graf Spee had an experimental FuMO 22, and Prager that Deutschland had a Seetakt set in the autumn 1937 (which proved very useful for night navigation in Spanish waters). Photographic analysis shows that the frame of this first experimental set was slightly smaller (0.8m x 1.8m) than the final FuMO 22 frame, but it is not known if there were fewer dipoles or alternatively if the dipoles were placed closer together.

R V Jones, in his memories (Most Secret War, Hamish Hamilton, 1978) describes how the British Admirality sent L H Bainbridge-Bell to the River Plate to examine the radar installation aboard the wreck of the Graf Spee. According to Price (Instruments of Darkness, Kimber, 1967) the resultant report took one and a half years to pass through the official channels, a statement I find hard to believe considering that Bainbridge-Bell had been sent half around the world to abtain the information. It adds yet another intriguing possibility of further information, as this report, possibly including photos of Graf Spee's installation, may yet come to light.

The Deutschland (renamed Lützow in 1940) had a 2m x 6m mattress antenna for a FuMO 22 throughout her wartime career. From January 1942 until March 1944 she also had a Timor frame at the rear of her radar tower, as in the Scharnhorst. To follow German practice there should also have been fixed Sumatra antennas but they cannot be traced in photographs. 

It is noteworthy that the foretop radar of the armoured ships (later reclassified as heavy cruisers) were provided with the best positioning of any German heavy units. It was situated at the highest point in the ship, and the foremast was removed, and replaced by a short pole mast, to provide completely unobstructed all-around coverage. 

Admiral Scheer was similarly equipped before the removal of the top-heavy pyramidal armoured mast. After that she had a 2m x 4m FuMO 27 mattress antenna and a Timor frame, bearing in opposite directions, on the forward rangefinder tower. Three of the four fixed Sumatra antennas, spaced 90° apart, were fitted on small horizontal lattice constructions. Scheer also had a FuMO 27 antenna on the aft rangefinder tower.
 



WRGER_41.jpg

Picture 4.1

The foretop of Spee with the rangefinder tower topped by a radar hut for the prototype set FMG 39 (gO) - later designated FuMO 22 - and its 0.8m x 1.8m matress antenna; fitted in 1939.
WRGER_43.jpg

Picture 4.3

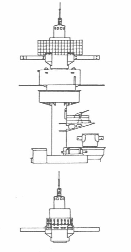
The after rangefinder of Scheer with the 2m x 4m antenna of the FuMO 27 set added in 1941.

 
WRGER_42.jpg

Picture 4.2

The foretop of Lützow with the radar hut and 2m x 6m antenna of FuMO 22 added above the rangefinder tower in 1939. 

The lower drawing shows the Samos antenna for FuMB 4, added to the back of the tower in January 1942, and carried until March 1944.  Note the battle-observers's post above the radar hut and that her foretop rangefinder is 2m higher above the waterline, than those of her sisters. Lützow was never fitted with radar on her after rangefinder tower.

WRGER_44.jpg

Picture 4.4

The forward conning tower of Scheer as modified in the summer of 1940. The 10m-rangefinder tower carries the radar hut and the antenna for the FuMO 27 which replaced the FuMO 22 (as shown in B) fitted on the original, Spee-type, bridge. 

Note the absence of a battle-observer's post. She also carries four Sumatra antennas (foward aft and besides the tower), three being on lattice extensions. The passive Timor antenna was fitted on the back of the radar hut/rangefinder tower in 1942.

 

Previous Page

Next Page