Russia / USSR
R-13 Missile
NATO Designation:  SSN-4 Sark

Updated 20 November 2007


Surface launched submarine ballistic missile.  Accepted into service in 1960, withdrawn by 1975.

Note to news organizations:  This is NOT the same weapon as used by the Iranians in early 2007.  The R-13 was not an anti-ship missile.  It was a Soviet submarine-launched ballistic missile (SLBM) with almost twice the range and three times the payload described in Iranian press releases.  This old liquid-fueled R-13 missile was difficult to maintain even when new and would be a very poor choice today given newer propulsion technology already employed by the Iranians, such as in their Shahab-3 design.  In any case, ballistic missiles cannot be easily converted to the anti-ship role, as their flight profiles and manuvering capabilities are completely different.

In short, by referencing this webpage, you have unfortunately given credence to an Iranian disinformation program.

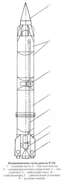
WMRUS_R-13_sketch.jpg

Sketch of R-13 Missile

.
Description
.
Designation R-13
Ship Class Used On Golf I class (Pr. 629) (3 missiles) and Hotel I class (Pr. 658) (3 missiles)
Date In Service 1960
Weight 30,203 lbs. (13,700 kg)
Dimensions 464.6 x 51.2 in (1,180 x 132 cm)
Payload One warhead
Total payload weight:  3,512 lbs. (1,597 kg)
Range 373 miles (600 km)
Propulsion Single-stage liquid fuel rocket
.
Data from
"Ballisticheskie Rakety Otechestvennogo Flota" (Ballistic Missiles of the Fatherland Fleet) by Yu. L Korshunov and E.M. Kytovoy
Special help from Vladimir Yakubov
---
"Iran:  Missile Maneuvers and the Mind Game" article web-published on 8 February 2007 by Statfor (subscription required)